Knipex 34 22 130 ESD Hassas Elektronikçi Kargaburun

Yetkili Satıcı

Knipex 34 22 130 ESD Hassas Elektronikçi Kargaburun

Genel Özellikler
En yüksek performans ve sonuç standartları için ürün yelpazesi.
Elektronik ve hassas mekanik gibi alanlarda ince montaj işleri için hassas pense.
Kavrama, tutma ve bükme için
Elektrik deşarjlı tutacaklar - dağıtıcı
Cıvatalı bağlantı: pensenin hassas, boşluksuz çalışması
Hassas bir şekilde işlenmiş bağlantı yüzeyleri, tüm açılma aralığı boyunca pürüzsüz ve düşük sürtünmeli hareket sağlar.
Pürüzsüz ve eşit açılma için düşük sürtünmeli çift yay.
Pürüzsüz zemin kavrama yüzeyleri, kenarları özenle çapaklardan arındırılmış.
Yansıtıcı olmayan yüzey
Düşük ağırlık
Ergonomik şekilli, iki renkli, çift bileşenli ESD tutacakları, siyah/gri

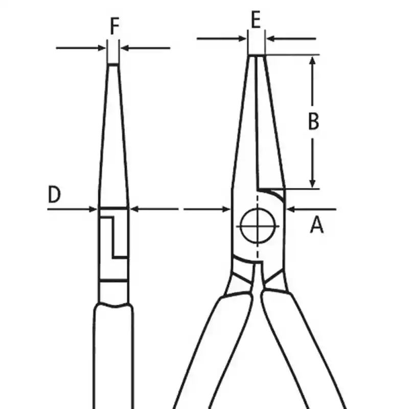
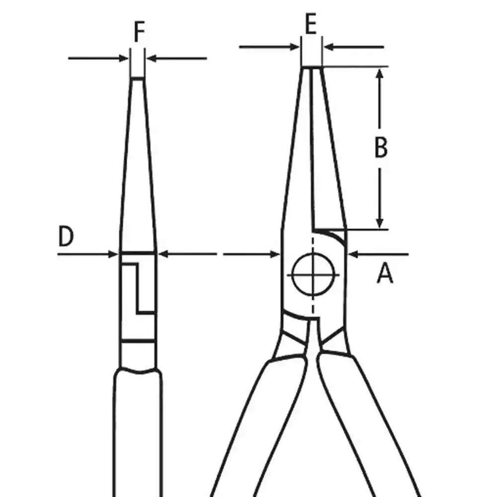
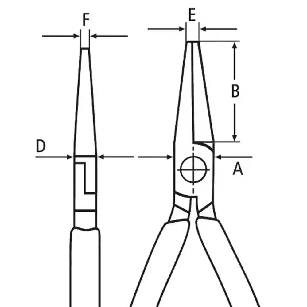
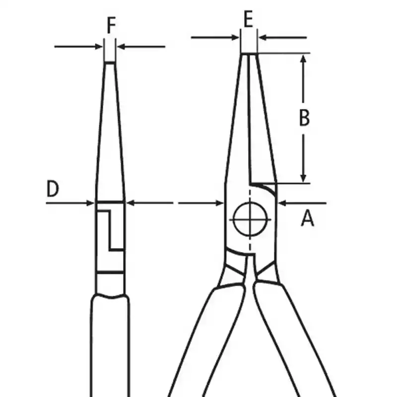
Teknik Özellikler
Ağırlık: 65 gr
Boyutlar: 130 x 60 x 18 mm
Çene uzunluğu (B):22,7 mm
Çene kalınlığı (eklem) (D):6,5 mm
Uç genişliği (E):1,6 mm
Uç kalınlığı (F):1,6 mm
Baş genişliği (A):11,2 mm
ESD: Evet

Antistatik özellikli Knipex 34 22 130 ESD Hassas Elektronikçi Kargaburun, tutamaç kısmı antistatik özellikli olacak şekilde ve vücutta oluşan statik elektriğin çalışılan alanı etkilememesini sağlamak amacıyla üretilmiştir.
ESD ürün ne demek?
Elektrostatik dağıtıcı toz boyalar, statik elektriği dağıtarak elektrostatik deşarja (ESD) karşı koruma sağlayan özel bir kaplama türüdür. Genellikle bilgisayarlar, elektrik panoları ve muhafazaları gibi elektronik cihazlarla ilgili kaplama uygulamalarında kullanılırlar.
ESD koruması nedir?
ESD Koruması Nedir? ESD koruması, hassas elektronik cihaz ve bileşenleri elektrostatik deşarjın potansiyel zararlı etkilerine karşı korumaya yardımcı olan bir işlemdir.

✔️ Garanti Kapsamı

  • Satın aldığınız ürün, üretici / ithalatçı / yetkili distribütör firma garantisi altındadır.

  • Tüm ürünler, CE işaretli, ilgili elektromekanik, akülü ve pnömatik ürün standartlarına uygundur.

  • Aksi ürün sayfasında belirtilmedikçe, ürünler 2 yıl garanti kapsamındadır.

  • Garanti süresi boyunca oluşabilecek arızalarda, Türkiye Genelindeki yetkili servisler üzerinden destek alabilirsiniz.

✔️ Ayka Teknik’te satılan ürünlerin tamamı %100 orijinaldir.


✔️ Kargo ve Teslimat Süreci

  • Siparişleriniz, aksi belirtilmedikçe 1 iş günü içerisinde kargoya verilir.
  • Hafta içi (Pazartesi–Cuma) saat 12:00’ye kadar verilen siparişler aynı gün kargoya teslim edilir.
  • Saat 12:00 sonrası ve hafta sonu (Cumartesi–Pazar) verilen siparişler, ilk iş günü kargoya verilir.
  • ​​​​​​​Yoğunluk, resmi tatiller ve kampanya dönemlerinde teslimat süreleri değişiklik gösterebilir.
  • Siparişleriniz, anlaşmalı lojistik ve kargo firmaları aracılığıyla güvenle adresinize ulaştırılır.

✔️ Teslimat Sırasında Dikkat Edilmesi Gerekenler

  • Kargonuzu teslim alırken paketi kontrol ediniz.

  • Hasarlı, eksik veya açılmış paketleri kargo görevlisine tutanak tutturmadan teslim almayınız.

  • Böyle bir durumda bizimle hemen iletişime geçmeniz yeterlidir.


✔️ Fatura ve Güvenli Alışveriş

  • Tüm siparişlerinizde adınıza Nihai Tüketici Faturası düzenlenir.

  • Talep edilmesi halinde Kurumsal Fatura da kesilebilir.

  • Ödeme ve sipariş süreçleriniz güvenli altyapı ile korunur.


✔️ Ayka Teknik Güvencesi

  • %100 Orijinal ve Garantili Ürün

  •  Hızlı ve Güvenli Kargo

  •  Faturalı Satış

  •  Satış Sonrası Destek

Benzer Ürünler
Yükleniyor...